Техническа документация
Тук ще откриете всички необходими параметри за изработката и монтажа на алуминиевите каси, крилата на вратите, както и различните схеми на отваряне спрямо желаната визия.
Нашата подробна техническа документация ще ви помогне да направите информиран избор и да осигурите прецизен монтаж, съобразен с вашия интериор.
📐 Включени чертежи и спецификации:
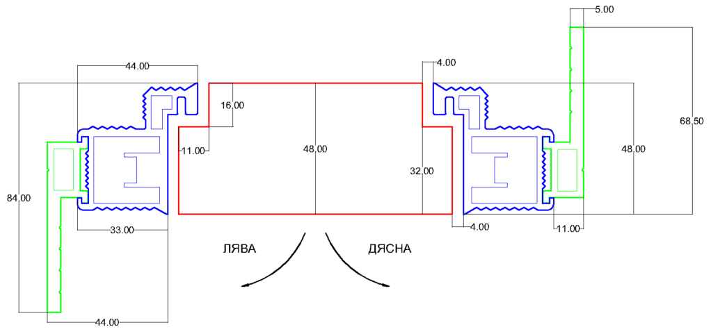
🔹 Схема 1 – Технологични размери на касата и крилото
🔹 Схема 2 – Определяне на посоката на отваряне според търсения „тапетен“ ефект
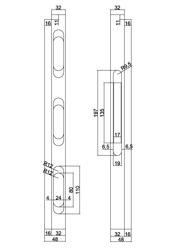
🔹 Схема 3 – Технологични размери на магнитните брави според вида на заключване
🔹 Схема 4 – Технологични размери на пантите
🔹 Схема 5 – Позициониране на бравата и пантите в крилото
ИЗЧИСЛЯВАНЕ РАЗМЕРА НА КРИЛОТО:
Ширина на крилото = Ширина на касата /без държачи/ – (2 х 33мм /дебелина на профила/) – (2 х 4мм /размера на фугата/) = Ширина на касата /без държачите/ – 74 мм
Височина на крилото = Височина на касата /без държачи/ – (1 х 33мм /дебелина на профила/) – (1 х 4мм /размера на фугата/) – (6мм /разстояние от пода до крилото/ ) = Височина на касата /без държачите/ – 43 мм
Виж Схема 1








📩 Ако имате въпроси или нужда от допълнителна информация, свържете се с нас!
📞 Обадете се: +359 887 463 341
📩 Пишете ни: office@preciz.eu
📝 Или попълнете формата за контакт – ще се свържем с вас възможно най-скоро.
